Hola ☺ quisiera que me ayudaran por favor con este problema:
Una prensa hidráulica puede levantar un auto de 1.5 t cuando se inyectaron 200 N de aire comprimido.considerando la aceleración gravitatoria como 10 m/s2.¿cuantas veces cabe la superficie del pistón pequeño en él mayor? Mi duda es que significa (t)??

A ver, Gaby, este ejercicio no puede tener este enunciado, pero tirando de la imaginación podemos entenderlo como que se inyecta una presión de 200 N/m². a partir de aquí veremos:
P=F/S→S=F/P= (1500 kg·10 m/s²)/200 N/m²=15000 N/200 N/m²=75 m².
F/S=F'/S'→15000/75=200/S→S=15000·75/200=5625 m²→5625/75=75 veces que cabe el pistón pequeño dentro de la superficie del grande.
Lo he hecho muy rápido. Espero que esté bien. Si hay fallo, pon el enunciado original y lo vemos. Un Saludo.
hola, espero estén todos bien! me podrían ayudar con un problema de cinemática en dos dimensiones, en si, no lo entiendo muy bien!
si las coordenadas de una partícula que se mueve en un plano están dadas por: x=3t-4t*2, y=-6t*2+t*3, donde X e Y entán dados en metros y t en segundos, encontrar:
a)el vector desplazamiento entre t=0seg y t=3seg
b)la velocidad media durante los primeros 3seg
c)la velocidad instantánea t=3seg
d)aceleración media durante los primeros 3seg
e)aceleración instantánea en t=3seg
las soluciones deben ser a)r=-27,-27 b)13m/s a 230grados c)23m 200grados d)8.5 m/s2 a 200grados e)10m/s a 140grados
lo agradecería mucho!

Echale un vistazo y nos cuentas ¿ok? FISICA Desplazamiento, velocidad instantanea, aceleracion tangencial y normal
Se trata de que DESPUES DE IR A CLASE (ver los vídeos relacionados con vuestras dudas) enviéis dudas concretas, muy concretas. Y que nos enviéis también todo aquello que hayais conseguido hacer por vosotros mismos. Paso a paso, esté bien o mal. No solo el enunciado. De esa manera podremos saber vuestro nivel, en que podemos ayudaros, cuales son vuestros fallos.... Y el trabajo duro será el vuestro. #nosvemosenclase Nos cuentas ¿ok?

Debes hacer descomposicion vectorial... como en este video.. FISICA Suma de fuerzas y descomposicion vectorial 02
Por ejemplo F1=(-F1.cos45, F1sen45), F2=(-F2cos60, -F2sen60)...
Nos cuentas ¿ok?...
Hola, me pueden ayudar verificando si el siguiente ejercicio esta bien resuelto. No tengo la respuesta en el libro así supuse que estos son los resultados. Gracias.
- Desde una cancha de fútbol ubicada al pie de una colina de 30˚ de pendiente, se realiza un lanzamiento desde un punto ubicado a 10m de la base de la colina y hacia ella; determinar:
a) La velocidad inicial con que se debe lanzar la pelota para que impacte en la colina a una altura de 3m justo cuando llega a su altura máxima.
b) Donde y cuando impacta la pelota si la velocidad inicial es 10m/s y 30˚ sobre la horizontal.
c) Donde y cuando impacta la pelota si la velocidad inicial es 15m/s y 30˚ sobre la horizontal.

No entiendo bien lo que hiciste... En el apartado a) se cumple que Vy=0 cuando y=3... Por tanto vo.senα-g.t=0...g.t=vo.senα... t=vo.senα / g
También 3=0+vo.senα.t-gt²/2....6=2.vo.senα.t-gt².... Sustituyendo t=vo.senα / g en la ecuacion te quedará... 6=2.vo.senα.(vo.senα / g)-g.(vo.senα / g)²...
6=2.vo².sen²α / g- vo².sen²α / g... 6=vo².sen²α / g... 6g=vo².sen²α ... √(6g)=vo.senα (ecuacion I)
Como t=vo.senα / g ... t=√(6g) / g = 0,78 segundos
Por otro lado, por trignometría de un triangulo rectangulo, cuando la altura en el plano es 3 metros, como el angulo del plano es 30º, te quedará que tan30=3/x, siendo x la distancia horizontal que ha tenido lugar en el plano inclinado.. Como la base del plano está a 10 metros, el alcance de la pelota en ese momento será 10+3/tan30 = vo.cosα.t (ecuacion II)
Dividiendo ecuacion I entre ecuacion II.... √(6g) / (10+3/tan30 )= vo.senα / (vo.cosα.t)... √(6g) / (10+3/tan30 )= tanα / t....√(6g). t / (10+3/tan30 )= tanα....
tanα= 0.39... α=21,48º.... Espero te sirva...
Para el b), para saber donde y cuando impacta, debes tener en cuenta de nuevo que el alcance es x=10+ y/tan30, siendo "y" la altura donde impacta...
Como x=10.cos30.t e y=10.sen30.t-gt²/2..... 10.cos30.t=10+ (10.sen30.t-gt²/2)/tan30. De aquí podrás despejar el tiempo "t"
Muchas Gracias, me había equivocado en las velocidades Vox= Vo.cosα y Voy=Vo.senα , realizando varias deducciones obtuve el ángulo α=21,44˚ que es lo mas lógico que saliera . Creo que fue un error muy grande de mi parte creer que el ángulo seria α=68,51˚ con una altura de 3m y distancia (10+x)m . De todas formas obtuve la Vo= 20,93 m/s .
Gracias por la ayuda, me sirvió de mucho.
Nuestro profesor de física nos ha dicho que pensemos una manera para calcular la densidad del aceite en el laboratorio sin poder usar una báscula, ni medir el volumen de dicho líquido, basándonos en lo que sabemos de hidrostática. He pensado que con un dinamómetro podría calcular el peso de un objeto muy denso que se hunda en el aceite fuera de este, y dentro. Así sabría su peso y su peso aparente. Con esto podría hallar el empuje. Mediría el volumen que desplaza el objeto, y con el principio de Arquímedes simplemente despejaría y hallaría la densidad del líquido. ¿Es mi procedimiento correcto? Gracias de antemano.
Hola! A ver... Qué hago para calcular la fuerza electromotriz en el 3.33? Me sé la fórmula, pero eso en física no suele ser suficiente... Además, he visto el vídeo de la espira cuadrada, que me ha servido para otro ejercicio y creo que por ahí van los tiros, pero llevo un buen rato dándole vueltas y no sale :(
Una vez tenga la fem inducida, la corriente ya no debería ser un problema.
Gracias!!

Para t=0s, el vector superficie es paralelo al campo magnetico.. Por tanto Φ=B.S.cos0=3.π.0,1²=0,03π Wb.
Para t=0,1s, el vector superficie es perpendicular al campo magnetico.. Por tanto Φ=B.S.cos90=0...
Como ε=-N.ΔΦ/Δt=-1.(0-0,03π)/0,1= 0,3π V
Segun la ley de OHM, V=R.I... I=0,3π/100 = 0,003π A
Espero te sirva...
Hola, no sé seguir este problema, ¿alguien sabe cómo hacerlo?:
Cuatro excursionistas se han quedado aislados en una zona rodeada de agua. En esa zona hay árboles rectangulares cuyo tronco tiene un diámetro de 20 cm y densidad de 0,85 g/mL. Si la masa total de los excursionistas e de 400 Kg, ¿qué superficie deberá tener la balsa que utilicen para salir?
Salud.

Solo se me ocurre que para que la balsa flote, Peso excursionistas + Peso balsa = Empuje... 400.g + m.g = Vcs. dl.g...
400 + m = Vcs. 1000, pues la densidad del liquido, agua, es 1000 kg/m³.... el volumen del cuerpo sumergido será el de x troncos...
Como el volumen de un cilindro es PI.R².h, el volumen de la balsa será π.0,1².h.x... Su masa m será m=d.v=850 kg/m³ . π.0,1².h.x = 8,5 π.h.x
Por tanto... 400+ 8,5 π.h.x = π.0,1².h.x.1000... 400+ 8,5 π.h.x = 10π.h.x... 400 = 1,5π.h.x... h.x=400/(1,5π)=
La superficie de la balsa será la de un rectangulo de altura h y base (0,2x, el diametro de cada tronco por el numero de troncos), S=0,2.x.h... Por tanto... S=0,2.400/(1,5π)=17 m²
Espero te sirva... No es fácil... Debes visualizar los troncos, flotando, uno al lado del otro, formando un rectangulo...
Hola alguien me podría ayudar con el siguiente ejercicio. Se los agradecería mucho.
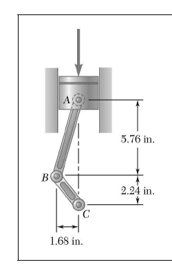
1.- Se sabe que la varilla de conexión AB ejerce una fuerza de 500lb sobre la manivela BC dirigida hacia abajo y a la izquierda a lo largo de la línea central AB. Determine el momento de la fuerza respecto de C.
Holi! A ver, me falta el último apartado del ejercicio 3.38. Podríais ayudarme con ese? Aunque solo sea una pista de como hay que hacerlo... :)
Gracias por adelantado!

Buenas noches. Lo que haría yo es lo siguiente:
Como dicen que en la rama central del circuito no debe circuilar ninguna corriente, entonces eliminaría la rama central, ya que si suponemos ese corriente como Icentral=0 A → R*Icentral=0 ohmios → No habría ni fuente de tensión ni resistencia.
Una vez has eliminado la rama central, te quedará un circuito con dos resistencias, un fuente de tensión de 7 V y la otra fuente de tensión que tienes que incorporar. Entonces, aplicando Kirchhoff tenemos que: -ε1(7 V) + ε2(fuente que se tiene que incorporar) = (-2 ohmios * I) + (-1 ohmios * I);
Entonces: ε2 = ε1 + (-2 ohmios * I) + (-1 ohmios * I)
El signo dependrá del sentido que hayas dado al corriente. El sentido que yo le he dado ha sido antihorario.
Espero que sea así.
Cordial saludo.
Alguno de ustedes me podría hacer el favor de indicarme el NOMBRE del "lugar" o "momento" en donde tanto la atracción gravitatoria del Sol y la Tierra es igual, es decir aquel donde teóricamente un objeto no sería atraído ni por el Sol ni la Tierra.
Gracias.

Suponiendo que solo existiese el Sol y la Tierra, ese lugar estaría a una distancia de la tierra de x metros. y, por tanto a una distancia del sol de D-x metros, siendo D la distanccia entre el soll y la Tierra. En ese lugar, las fuerzas de atracción del Sol y la Tierra (de sentido contrario) sobre un determinado objeto serían respectivamente G.Ms.m/(D-x)² y G.Mt.m/x²
La fuerza de atraccion será nula cuando ambas sean iguales en modulo. Por tanto. G.Ms.m/(D-x)² = G.Mt.m/x²... Ms/(D-x)² = Mt/x²... Ms.x²= Mt.(D-x)² ...